Sichere Rechnerarchitektur Trennung von Daten und Befehlen schützt gegen Malware
Der Ingenieur Friedhelm Becker aus Waddewarden hat eine Rechnerarchitektur entwickelt, die resistent gegen Malware sein soll. Sie basiert auf dem Prinzip der strikten Trennung von Befehlen und Daten im Speicher.
Anbieter zum Thema

Häufig wird Schadsoftware in Rechnersysteme eingeschleust, die sich als harmloses Dokument tarnt. Dies kann mit der unter (Patentnummer DE 10 2013 005 971 B3) patentierten Rechnerarchitektur so nicht passieren, da sie strikt zwischen Programmcode und Daten trennt. Friedhelm Becker, Projektingenieur bei Atlastitan und zuvor fast 30 Jahre bei einem Unternehmen der Luft- und Raumfahrtbranche tätig, konzipierte diese Architektur. Er stellt sie im Gespräch mit ELEKTRONIKPRAXIS vor.
Die Architektur, die Sie entwickelt haben, sieht die Trennung zwischen Programmcode und Programmdaten vor. Ist das korrekt?
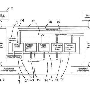
Richtig. Aber es geht noch weiter: auch die Daten werden getrennt. Und zwar gibt es neben den Instruktionen drei Datenkategorien. Ich rede immer von vier Datenkategorien, von denen eine dann die Instruktionen sind. Eine Datenkategorie ist die Kategorie der Adressdaten. Wenn Sie zum Beispiel ein Icon auf Ihrem Bildschirm anklicken, damit eine bestimmte Funktion ausgeführt wird, dann möchten Sie ja, dass genau diese Funktion ausgeführt wird.
Ein Angriffspunkt ist zum Beispiel, dass solche hinterlegten Adressen verbogen werden und dann ganz andere Programme ausgeführt werden. Darum sind diese Daten gesondert von den übrigen. Und dann bleiben noch zwei Kategorien: Eine sind Daten, die von Programmen gebraucht werden, und zwar als Teil des Programms – als mitkompilierte, vom Compiler erzeugte Daten. Und die vierte und letzte Kategorie sind die Daten, die Sie bearbeiten sollen – auf die haben Sie normalerweise keinen großen Einfluss.
Da kriegen Sie eine Datei vorgelegt, Sie schreiben einen Brief, Sie füllen ein Formblatt aus, was auch immer. Das sind die Daten, die Sie auch über externe Speicher austauschen, unter Umständen über das Internet austuschen. Das sind die Daten, die möglicherweise infiziert sein können. Die anderen drei Kategorien sind durch die Software-Lieferung, die Sie ganz offiziell bekommen haben, ja quasi abgedeckt.
Denn das sind Bestandteile der eingekauften Software, die unterliegen der Konfigurationskontrolle oder es kann eine durchgeführt werden. Und die unterliegen auch, wenn es handelsübliche Software ist, einer Qualitätskontrolle des Software-Suppliers.
(ID:44326364)